Аппараты с перемешивающими устройствами
ПЕТЕРБУРГНИИХИММАШ разрабатывает и поставляет аппараты с механическими перемешивающими устройствами для проведения процессов, требующих перемешивания: приготовление однородных многокомпонентных смесей, перемешивание суспензий, растворение, экстракция, выщелачивание, абсорбция и десорбция газов, кристаллизация и других, в том числе для процессов, сопровождающихся химическими реакциями.
Многолетний опыт исследований перемешивания и тепломассообмена позволяет оперативно выполнять инженерный расчет и выбор оптимального конструктивного варианта аппарата или перемешивающего устройства для каждого конкретного технологического процесса.
Мы предлагаем аппараты с перемешивающими устройствами для специальных технологических целей — перемешивание высоковязких сред, перемешивание в открытых емкостях, аэрация жидкостей, диспергирование, перемешивание в особых условиях эксплуатации.
Рабочие среды: нейтральные, агрессивные, взрывопожароопасные, токсичные жидкости, эмульсии, газожидкостные смеси, суспензии.
Уплотнения: торцовые, сальниковые, гидрозатворы, магнитные муфты.
Мешалки: лопастные, турбинные, рамные, якорные, фрезерные, шнековые, ленточные, в том числе со скребками, самовсасывающие и мешалки специальных конструкций.
Опоры: лапы, стойки, юбки.
Внутренние устройства: отражательные перегородки, отражатели, змеевики, трубы, барботёры.
Материал: стали углеродистые и нержавеющие, титан и сплавы, а также аппараты с антикоррозионной защитой.
По заданию заказчиков выполняется индивидуальная разработка АПУ на любые параметры.
Смесители специального назначения

Горизонтальные секционированные аппараты с перемешивающими устройствами
Аппараты предназначены для окислительного выщелачивания руды в металлургической промышленности.
Процесс осуществляется при подаче в аппарат исходной суспензии, кислородо-воздушной смеси (КВС) через барботеры, установленные в каждой секции аппарата, и кислого оборотного электролита (H2SO4). Процесс носит непрерывный характер и может быть полностью автоматизирован.
Для предотвращения выделения в рабочую зону вредных веществ из аппарата, последний герметизирован торцовыми уплотнениями.
Типы мешалок:
нижняя — открытая турбинная;
верхняя — трехлопастная с наклонными лопастями.
Материалы:
корпуса — биметалл, сталь углеродистая плюс титан ВТ1-0 (толщина плакирующего слоя 6 мм);
перемешивающих устройств и труб подачи КВС — сталь 06ХН28МДТ.
Смесители для высоковязких сред
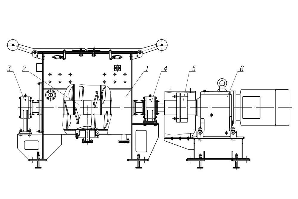
ООО ПЕТЕРБУРГНИИХИММАШ разработал и изготовил аппараты для интенсивного смешения различных полимерных материалов. Вязкость обрабатываемых сред до 300 — 500 Па·с.
Смесители используются в составе установок для приготовления силиконовых компаундов. Рабочая среда перемещается специальными мешалками вдоль оси вала от центра корпуса смесителя к его торцевым стенкам. Спустя определенное время направление вращения вала и, соответственно, направление перемещения среды переключается на противоположное. Частота вращения вала регулируется преобразователем частоты, подключенным к мотор-редуктору. Корпус снабжён теплообменной рубашкой.
Смесители установлены вместо широко распространенных смесителей с Z-образными роторами и превосходят последние по качеству смешения.

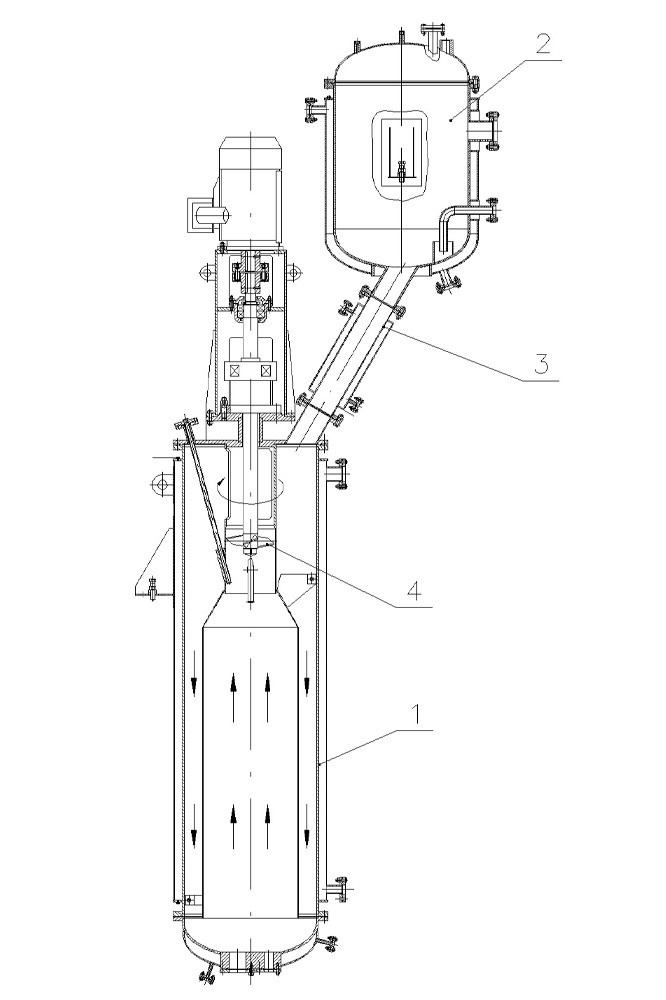
Аппараты с винтовым перемешивающим устройством в циркуляционном контуре и выносным сепаратором
Циркуляционный контур позволяет создавать высокие скорости движения среды и, как следствие, высокую турбулизацию потока. Кроме того, он может выполнять функции теплообменного устройства. Выносной контур циркуляции газа, имеющий сечение на порядок меньшее относительно сечения аппарата, обеспечивает максимальное время контакта фаз. Винтовая мешалка вызывает достаточную турбулизацию потока при оптимальном значении потребляемой удельной мощности. Конструкция аппарата позволяет осуществлять раздельную подачу компонентов газовой фазы и предотвращает их взаимную реакцию в случае, если их контакт недопустим.
Статья по теме: Современные конструкции аппаратов с механическими перемешивающими устройствами для процессов в газожидкостных системах
Статические смесители
Статическое перемешивание осуществляется без использования движущихся частей. Для перемешивания используется часть энергии насосов перекачивающих рабочие среды (жидкости и газы).
Такие смесители можно применять как отдельно, так и в комбинации с традиционными аппаратами для перемешивания, что позволяет создать достаточно гибкую технологическую линию повышенной надежности.
Статические смесители получили широкое применение в промышленности для проведения непрерывных процессов смешения, диспергирования, интенсификации тепло- и массообмена. Их популярность обусловлена целым рядом технико-экономических преимуществ перед традиционными емкостными аппаратами с механическими перемешивающими устройствами, на которых специализируется ООО ПЕТЕРБУРГНИИХИММАШ.
Основные преимущества статических смесителей:
- простота конструкции и легкость изготовления;
- высокая надежность из-за отсутствия движущихся деталей и уплотняемых подвижных соединений;
- отсутствие застойных зон;
- легкость обслуживания;
- высокая прочность и герметичность;
- возможность работы при больших давлениях и температурах в смешиваемых средах;
- возможность работы со взрывопожароопасными и токсичными средами;
- высокая производительность при малом рабочем объеме зоны смешения;
- возможность использования для обработки жидкостей широкого диапазона вязкостей;
- устойчивость работы и возможность использования для разнообразных процессов.

Существует несколько наиболее распространенных типов статических смесителей:
- смесители с винтовыми элементами, которые закручивают поток попеременно в разных направления;
- смесители с промежуточными камерами, в которых перемешивание осуществляется за счет резкого расширения и сужения пространства внутри смесителя, что вызывает резкое изменение скорости потока и возникновение усиленного вихреобразования;
- смесители с элементами из взаимно перпендикулярных пластин образующих пространственную решетку, что обеспечивает разделение потока на отдельные струи, движущиеся по сложным каналам, где они многократно дробятся и смешиваются.
На основе опыта проектирования, изготовления и эксплуатации статических смесителей ООО ПЕТЕРБУРГНИИХИММАШ разработал технические условия
ТУ 3614-004-59444657-2012 «Смесители статические и смесительные элементы».
Статья по теме: Статические смесители — перемешивание в трубопроводе


















